914 USED PARTS
6-Brakes & Wheels (Bremsen, R
ä
der)
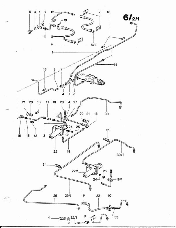
6-2-1 Brake Lines
Search barnesandnoble.com for porsche