914 USED PARTS

4-Front Axle, Steering (Vorderachse Lenkung)
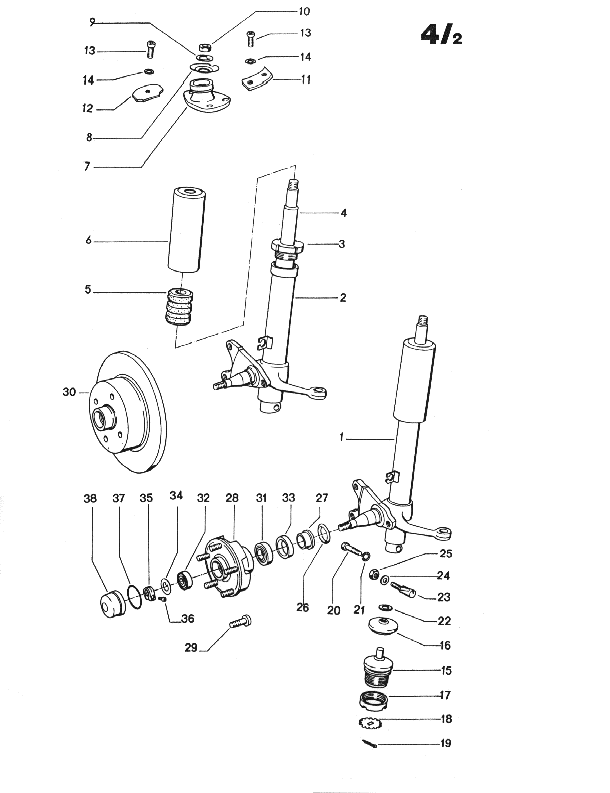
4/2 Front Strut Assembly

Search barnesandnoble.com for porsche