914 USED PARTS

2 - Fuel System (Kraftstoff Anlage)
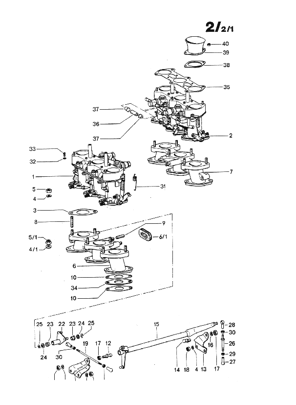
2/2/1 Carburetor 

Search barnesandnoble.com for porsche