914 USED PARTS

Engine (Motor) 914-6
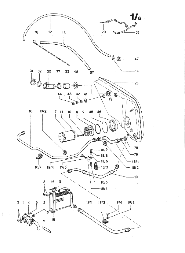
1/6 Engine Lubrication

Search barnesandnoble.com for porsche